

聚类分析功能旨在基于语义算法,提取专利标题、摘要和权利要求中的关键词,根据语义相关度聚出不同类别的主题并通过可视化地形图进行展示。通过聚类地形图,可以方便用户直观了解专利技术布局情况。Inspiro聚类分析功能最大可支持5000个专利文献。
聚类分析有两个入口,包括:
① 在项目概况页面,点击下方工具栏的
按钮,可对项目下的专利进行聚类分析。
②在项目内容概览页面,首先点击下方工具栏的
,在弹出的上拉框中点击
,可对项目内容概览页面中的专利进行聚类分析。
在进行聚类分析后Inspiro会进入聚类分析的显示页面,显示聚类分析图。聚类分析提供了根据申请人、发明人、法律状态和区域四种对象设置专利显示颜色的功能,具体操作步骤如下:
① 点选申请人、发明人、法律状态或区域对应的
。
② 点击
,设置要显示的对象专利显示的颜色,显示对象会按照专利文献数量从多到少进行排序。
③ 点击
,生成新的聚类图,图中对应对象的专利显示相应的颜色。
聚类设置下有5项可以进行操作的设置项,设置好后点击
或者
即可按照设置生成新的聚类图片,具体的设置操作如下:
① 聚类个数:设置聚类生成的聚类主题数量,具体通过选择下拉框或拖拽栏调整聚类个数。
② 关键词个数:设置每个聚类主题的关键词数量,具体通过选择下拉框或拖拽栏调整关键词个数。
③ 关键词提取权限设置:设置在权利要求、摘要和全文中提取关键词的占比权重,通过拖拽栏来进行调整。
④ 屏蔽词:设置不要在聚类主题中显示的关键词,最多设置8个。
⑤ 强化词:设置在聚类主题中强化显示的关键词,最多设置8个。
聚类信息主要操作如下:
① 聚类图片中显示的数字为聚类信息中的主题号,每个主题号都对应了一个聚类主题,聚类主题默认是自动生成的,但是可以进行手动更改编辑,只需要点击每个聚类主题右侧的
进行编辑。
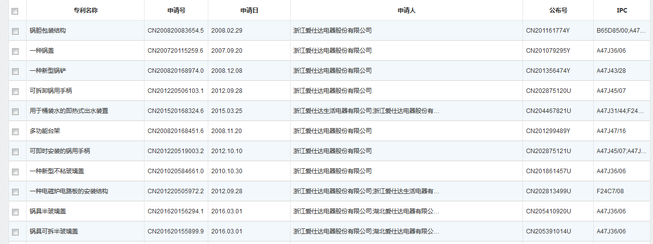
② 聚类信息中的专利数量为对应的每个聚类主题的专利量,均可以点击打开,打开后会弹出相应专利的列表,包括专利字段有专利名称、申请号、申请日、申请人、公布号和IPC。
③ 聚类信息下的聚类主题中,单个的或者多个的聚类主题可以拆分为一个项目,只需在选择完聚类主题后点击
,然后按照提示进行操作,也可以拆分为多个项目,同样只需在选择完聚类主题后点击
,然后按提示进行操作,所有拆分的项目均会显示在项目根目录中。
聚类分析下针对生成图片的主要的操作按钮功能如下所示:
① 点击
将重新生成聚类分析图。
② 点击
将聚类图片保存到本地。
③ 点击
将聚类图片保存到项目中。
④ 点击
将聚类图中各对象显示专利的颜色全部恢复为默认状态。
⑤ 鼠标滑动到彩色数字上方,悬停显示聚类分析主题文字信息,移走后信息消失。
⑥ 鼠标滑动到代表专利的聚类点
上,悬停显示对应专利的公布号和专利名称信息,移走后信息消失。