

Inspiro中概览、细览和项目下添加预警的专利或商标信息以及通过表达式生成的增量预警信息均在顶栏的预警中进行统一管理和查看,点击
即进入预警管理和预警消息查看界面。
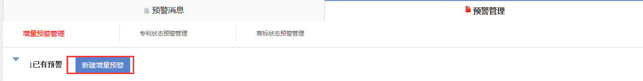
首先,点击
,再点击
。
在弹出的对话框中输入预警名称和表达式,点击
完成添加新的增量预警的操作。为了防止表达式写错,点击
可以对编辑的表达式进行验证,如果有错会进行提示。如果想重写编写表达式可以点击
,则预警名称和表达式均会被清空,此时可以重新进行编辑工作。在对话框中还可以查看系统的检索历史,只要点击
,相关检索历史信息就会在下方展开。
在
中点击
,所有的表达式增量预警将以列表的形式加以展现,如下图所示。列表字段包括序号、预警名称、数据类型、预警表达式、创建时间、修改时间和操作。调节操作处的
可以控制对应的增量预警是否开启。另外,勾选复选框
后点击
可以执行对对应增量预警的删除操作。而点击预警表达式,如
则可以对表达式进行编辑。
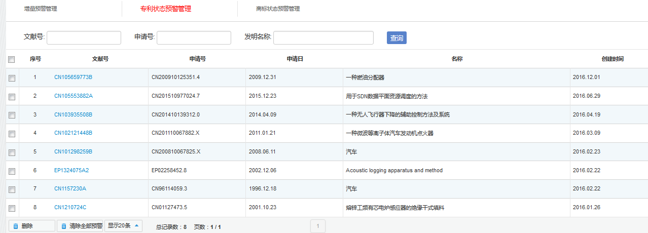
在
中点击
,所有被添加预警的专利会以列表的形式加以展现,如下图所示,列表字段包括序号、文献号、申请号、申请日、名称、创建时间。列表的上方是查询工具栏,可以按照文献号、申请号或者发明名称任意一项来查询预警专利,输入相应信息后点击
即可。如果想查看预警专利的专利细览信息,可以点击蓝色文献号(比如
)会链接到细览页面。另外,勾选复选框
后点击
可对添加的预警专利做删除操作,或者直接点击
,将会把所有添加预警的专利从列表中清空。
在Inspiro中通常如果设置了增量预警或者从概细览以及项目页面添加了专利或商标的预警,当相关数据有状态更新的时候,会向用户的邮箱发送邮件提醒用户进行查看。
此时用户可以登录Inspiro,点击
进入预警管理界面,在管理界面下面点击
,再点击
就可以查看根据表达式增量预警更新的预警专利,点击
则可以查看添加预警的专利的更新状态信息,点击
则可以查看添加预警的商标的更新状态信息。所有预警的更新状态信息都以列表的形式呈现,增量预警消息列表字段包括序号、预警名称、预警时间、新增专利数量和是否已读状态,专利状态预警消息列表字段包括序号、文献号、申请号、专利名称、预警时间、预警类型(包括法律状态、法律文书、相关数据)和是否已读状态,商标状态预警消息列表字段包括序号、商标注册号、商标名称、预警时间、状态预警和是否已读状态。另外,在各个预警消息页面勾选复选框
后点击
可对更新的预警状态做删除操作,或者直接点击
,将会把所有更新的预警状态信息从列表中清空。