

点击商标名称或申请号,即可进入该商标的细览页面。
商标细览页面由3个页面构成,缺省页面为商标详情页面,点击
或
可切换至商标流程或商标相关数据页面。
商标详情页面
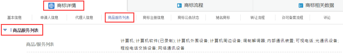
商标详情页面提供商标的基本信息、申请人信息、代理人信息、商品服务列表、商标注册信息、商标公告状态、驰名商标、转让流程及许可备案状态,点击页面上部商标详情列表即可滑动至相应位置。用户还可对该商标发表评论。
点击详情页面中的蓝色字体,系统将以检索表达式 尼斯分类 = '09' 、代理人名称 = '中原信达创知识产权代理有限公司'、 申请人名称 = '华为技术有限公司' 进行检索,并打开一个新的商标概览页面。
底部工具栏设有双栏、高亮及预警功能按钮,点击相应按钮可实现双栏浏览、关键词高亮显示及商标状态预警。
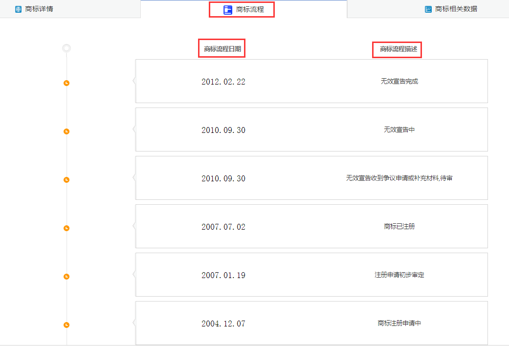
商标流程页面
商标流程页面提供商标业务流程中的状态及时间。
商标相关数据页面
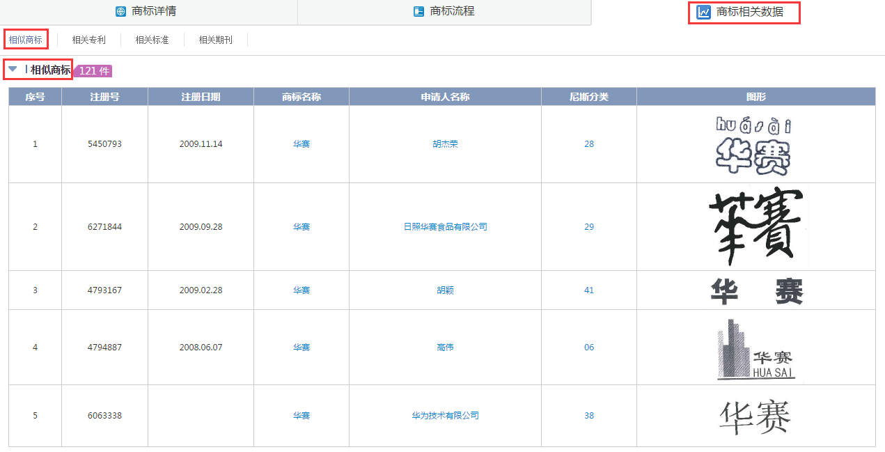
商标相关数据页面提供相似商标,相关专利、期刊、标准及判例信息,用户点击商标详情页面关联数据也可跳转至该页面。点击页面上部相关数据列表即可滑动至相应位置。
相关数据默认显示5条,点击右侧统计数据可跳转至相应概览页面,点击
可查看检索表达式。以通过申请人字段(申请人名称 = 华为技术有限公司)检索得到的商标——华赛为例,相关数据按照下列检索表达式分别在相应的数据库中检索所得。
| 数据库 | 检索表达式 | 检索数据 |
| 中国商标数据库 | (SS='华赛') 近似检索 | 121 |
| 所有专利数据库 | ( (( 申请人中文,申请人英文,申请人原始+=('华为技术有限公司' OR '华为技术有限公司'))) ) | 95353 |
| 期刊 | ( (( 作者单位原文,作者单位中文,作者单位英文+=('华为技术有限公司' OR '华为技术有限公司'))) ) | 426 |
| 标准 | ( (( 起草单位原文,起草单位中文,起草单位英文+=('华为技术有限公司' OR '华为技术有限公司'))) ) | 104 |
点击商标、专利、期刊、标准名称,进入相应数据的细览页面;点击其他蓝色字体,系统以相应的检索式进行重新检索,检索结果显示在新的页面中,以申请人胡杰荣为例,检索表达式为( 申请人名称 = '胡杰荣' ) ,检索结果如下图所示。